麦肯锡——在线QQ客服
电话:18027596161

发明、实用新型和外观设计专利的申请、审查流程

时间:2017-02-24

    依据专利法,发明专利申请的审批程序包括受理、初审、公布、实审以及授权五个阶段。实用新型或者外观设计专利申请在审批中不进行早期公布和实质审查,只有受理、初审和授权三个阶段。

    了解详情点击右边文字→ 发明专利申请 ,实用新型专利申请 外观设计专利申请

    发明、实用新型和外观设计专利的申请、审查流程图如下:

上一篇:索尼申请新专利文件Vive-style PSVR跟踪设备
下一篇:法院公开审理“小熊宝宝系列绘本”侵权案
索尼申请新专利文件Vive-style PSVR跟踪设备

  索尼在试验自己的Vive-style VR追踪装置,根据专利申请从6月。文档暗示了一个跟踪器的工作类似于HTC目前的虚拟现实技术。功能作为外部投影仪,该设备将使用灯光和镜子地图直接进入PSVR玩家的真实世界的运动。目前索尼的VR提供使用相机来检测光从球员的耳机,现有的跟踪用户一个极小的空间限制。与光经常干扰PS4的相机,如果这种新技术使得生产它可能不仅给玩家更多的流动性,还提供更准确和身临其境的PSVR经验。

专利申请

  虽然仅仅是申请专利技术并不能保证会重见天日,索尼投资更加身临其境的PSVR体验是非常合理的。能够身体走动虚拟世界奇迹创造一种存在的感觉,如果它使市场,这种新设备可以帮助PSVR同技术完成万岁。


  有趣的是,专利状态跟踪装置是无线,暗示它将连接到一个PS4通过蓝牙或无线网络。竞争已经宣布自己的无线外设,毫无疑问,索尼可能会追随他们的脚步。专利不给任何指示,然而,是否现有的跟踪是一个附加耳机或合并PSVR继任者的一部分。

专利申请


  PSVR去年10月被释放。自那时以来,索尼科技一直保持沉默,省略从年末销售数字新闻稿和未能宣布许多新书在最后一次会议的平台。然而有更多和索尼最近发布的包上架的PS4 Pro提供了明显的肿块在虚拟现实表现,这些专利有助于表明公司没有完成虚拟现实。


多措并举 推动商标事业发展

  日前,国家工商行政管理总局(下称工商总局)商标局(下称商标局)公布了2016年我国商标申请与注册统计情况,2016年我国商标申请量达369.1万件,连续15年位居世界第一。

商标申请

  据了解,2016年我国商标申请量同比增长28.4%,增速较2015年提高了1.5个百分点。其中,网上申请量显著增加,共有300.1万件,占申请总量的81.3%,所占比重较2015年提高了12个百分点。至2016年底,商标有效注册量达1237.6万件,每万户市场主体商标拥有量达1422件,比2015年底的1335件增长了6.5%。同时,截至2016年12月31日,商标局共备案商标代理机构总数为2.6635万家。


  这些成绩的取得离不开背后的付出——2016年,根据中央关于深化改革各项决策的部署,工商总局本着改革创新、简政放权、放管结合和优化服务的原则,作出开展商标注册便利化改革的部署,一系列改革措施落地生根,成效明显。


  商标申请呈现新特色


  “支撑我国商标申请量快速增长的原因是多方面的。”中央财经大学法学院教授,首先最根本的原因是经济驱动,商标作为区别不同商品和服务的标识,承载着企业的创新成果、产品质量和商业信誉等,是企业的无形资产,其重要性被广泛认知,尤其自我国提出大众创业、万众创新以来,企业数量大幅增加,市场活力和发展动力被有效激发,我国的商标事业随之快速发展。其次,社会软环境也发挥了相当大的作用,通过多年来社会各界的广泛宣传,公众的知识产权素养逐步提升,企业的知识产权保护意识逐步增强,随着我国经济的快速、健康发展,企业的商标品牌意识显著增强。据《2015年中国知识产权文化素养调查报告》显示,从2008年至2015年,社会公众的知识产权综合素养指数增加了近25%,超过78%的公众赞同“尊重知识、崇尚创新、诚信守法”是知识产权文化的核心理念,有54.5%的被访者认为知识产权与工作(学习)生活之间的关系“非常密切”,超过83%企业认为知识产权是推动经济发展及技术进步的战略资源等。最后,商标注册便利化改革助推了商标申请量的增长,工商总局推行的商标注册便利化改革拓展了商标申请的渠道,简化了商标申请的手续,优化了商标申请的流程,完善了商标审查机制,加强了商标信用监管,还规定了一系列保障措施,这些都为商标申请人提供了诸多便利,为我国商标申请质与量的提升提供了保证。


  据了解,2016年我国商标申请量前五名的省市分别是广东、北京、浙江、上海、江苏。对此杜颖认为,商标申请集中出现在东部省份的根本原因在于,东部省份的经济发展水平相对于中西部省份更为发达。东部地区产业集中,第三产业尤为发达,企业创新、创业氛围浓厚,这些因素共同促进了东部省份商标事业的发展。“经济越发达的地区,往往产业结构更为合理,知识转化为财产的途径更多、可能性也更大,因此东部省份的知识产权意识相对更强,对商标申请的需求也就越大。”


  值得一提的是,2016年,我国商标网上申请显著增加,占申请总量的81.3%。“一方面,相比于纸质商标申请,网上申请更为便捷、经济。此前,商标申请人提出注册申请,需携带各种商标注册申请资料及证明材料,并必须到北京办理,如果资料不齐全,有些商标申请人甚至需要往返数次才能成功办理申请手续,给商标申请人带来诸多不便。实现商标注册网上申请,将极大提高商标申请、注册的效率,节约注册成本,免去商标申请人的奔波之苦。而且,根据《国家发展改革委、财政部关于网上商标注册收费标准及有关问题的通知》,网上受理商标注册费收费标准比纸质商标注册申请优惠20%,商标申请人何乐而不为?”,自2007年商标局向商标代理机构开通商标注册网上申请系统后,选择网上申请商标的代理机构越来越多,由此逐渐出现商标申请代理服务的电子平台化趋势,这种便捷、高效的模式反过来又进一步推动了网上申请数量的增加。


  商标政策激发新活力


  商标申请数量逐年增多,并呈现诸多新形式,离不开政策的引导。


  据了解,2016年7月14日,工商总局发布了《关于大力推进商标注册便利化改革的意见》,以解决商标注册和管理存在的问题为导向,以实现商标注册便利化为主线,以拓展商标申请渠道、简化商标注册手续、优化商标注册流程、完善商标审查机制、加强商标信用监管为手段,进一步方便申请人申请注册商标,提高商标审查效率,提升商标公共服务水平,更好地发挥品牌引领作用,促进品牌经济发展。


  2016年7月5日及6日,商标局相继在四川雅安、浙江台州两地开展试点设立商标受理处,代为办理商标注册申请受理等业务,方便申请人尤其是小微企业就近办理商标业务,为大众创业、万众创新提供了更加便捷、优质的服务。


  为了贯彻落实《工商总局关于大力推进商标注册便利化改革的意见》,方便商标申请人办理商标注册申请,2016年10月30日,商标局批准13个工商行政管理部门和市场监管部门设立商标受理窗口,同年11月1日正式启动运行开展商标注册申请受理工作。受理窗口负责指定区域内商标注册申请受理、规费收缴,并接收、审核商标注册申请文件,对符合受理条件的商标注册申请确定申请日;受理窗口同时还代发商标注册证,提供查询和咨询等服务工作。这一举措为商标申请人就近办理商标注册申请业务提供了便利。设立地方商标注册申请受理窗口是工商总局大力推进商标注册便利化改革的一项重要举措,旨在方便商标申请人就近办理商标注册申请业务。


  2016年12月1日,为了减轻商标申请人负担,为商标申请人提供更加优质的服务,首个京外商标审查协作中心即商标审查协作广州中心正式挂牌运行,开展注册商标申请现场受理、咨询、商标注册申请审查和商标法律法规宣传咨询服务,指导地方开展商标专用权保护,协调促进地方商标品牌战略实施等工作,将分担部分商标注册审查任务,尽可能缩短商标审查周期。


  政策的引导不仅如此,为了适应我国商标法进行的第三次修正,进一步规范和做好商标审查和商标审理工作,在广泛听取各方意见、借鉴国外审查标准的基础上,结合多年商标审查、审理实践。2016年12月,商标局和国家工商总局商标评审委员会对《商标审查及审理标准》进行了修订。此次修订新增了声音商标审查标准、审查意见书在审查实务中的运用标准、我国现行商标法第十九条第四款的适用标准、我国现行商标法第五十条的适用标准、我国现行商标法第十五条第二款的审理标准、利害关系人的认定标准,并针对我国现行商标法第十条的部分修改对审查标准进行了相应修订,同时删减、新增了部分审查案例,丰富、完善了商标审查和审理标准的内容。


  而为了继续深入推进商标注册便利化改革,增强全社会商标意识,提高商标注册申请质量,方便商标申请人申请注册商标,更好维护商标申请人权益,商标局以我国现行商标法和商标法实施条例为主要依据,将商标申请人普遍关注、与商标申请人切身利益密切相关的问题绘制成卡通画册,并于2016年12月12日开始向社会公众免费赠阅。


  2016年12月30日,商标局发布《关于改进商标注册证发文方式和内容版式等事宜的公告》。为了便利商标申请人,商标局改变了直接申请注册商标商标注册证发放方式,直接提交或网上提交申请注册的,商标局直接向商标申请人寄发商标注册证;商标申请人自2017年1月1日起直接提交或网上提交的商标注册申请,该商标核准注册后,商标局将向商标申请人直接寄发商标注册证(通过地方受理点提交的注册申请,其商标注册证由受理点代发)。同时,为便于注册证的展现和使用,大幅压缩打印时间,提高发证效率,商标局调整了商标注册证的内容版式,将双面打印调整为单面打印。


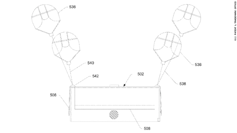
亚马逊专利无人机交付方法,使用降落伞丢

  亚马逊不打算抽烟。 相反,电子商务巨头正在寻求使用无人机完全重新定义交付机制。 该公司已经完成了在英国的第一个成功的无人机交付 ,现在陷入了与监管者的实际,技术和法律斗争。 但是,这并不妨碍亚马逊的创新和技术发展的步伐。专利

专利

  电子商务巨头已经展示了其包括库存和自主无人机用于运送货物的飞行仓库的奇怪想法 。 但是, CNN报告说,美国专利和商标局已经授予亚马逊一项新的专利,使用新的方法将包裹运送到地面。 这涉及使用降落伞将包装从自主无人机中释放,其可以被引导到正确的位置。


  该专利申请建议亚马逊不寻求触摸基地,即发送包裹使用无人机的帮助下的交付位置。 相反,它计划让他们徘徊在客户的房子,并使用他们的新的交付方法,使高效和及时的交货。 公司将部署包


  亚马逊认为,无人机消耗更多的精力和时间,如果它必须着陆和起飞来交付。 它还需要着陆在开放的庭院样地区,以避免与附近的人,狗或其他物体的碰撞(传感器应该防止)。 因此,在该专利中已经说明,亚马逊将部署包“在高度”和“在下降期间监控和调整包裹轨迹” 。


  该公司在该专利中说,无人机将监测释放的包装的轨迹,以确保它们到达所需的着陆位置。 如果不是,就像有一条电源线或树之间,亚马逊计划使用降落伞,弹簧圈或爆炸的压缩空气来调整包中间飞行位置。 还存在包括着陆襟翼的可能性,该着陆襟翼当包装接触地面时将软化包装的着陆。

专利

  这个专利是公司努力用他们的Prime Air无人机送货服务征服天空的最新发展。 该公司成功地完成了在剑桥的第一次商业交付(在那里它被允许在郊区进行试验)。 它交付了包装,一个火电视和一袋爆米花,在只有13分钟。 但是,无人机必须降落到包含所述产品的黑盒子。 虽然这个想法目前只在纸上,我们可以看到降落伞在未来几个月内部署无人机交付。


  没有怀疑的事实,亚马逊没有积极推动商业化无人机交付 - 超出英国它希望使这成为现实,并已经开始通过超级碗广告,这表明所述交付机制可以成为一个广告城市友好解决方案。 Alexa给我一包来自Prime Air的Doritos! 给这个命令将是如此神话。


个人如何申请专利

  专利不光是对企业有巨大的商业价值,就个人而言也是意义非凡,它可以成为大学生毕业求职考研的重要筹码,职场人员评职晋升的主要条件等等。所以专利对企业或个人都很是需要。那么个人如何申请专利呢?

专利

  首先在申请专利前先要确定自己要申请的专利类型。专利分为:发明专利、实用新型专利、外观设计专利。不同类型的专利所要提交申请资料、审批流程也各不相同。


  申请需要准备的资料:


  发明专利需准备的资料包括:发明专利请求书、说明书(必要是需要有说明附件)、权利要求书、摘要及其附图各一式两份。


  实用新型专利准备资料包括:实用新型专利请求书、说明书、说明书附件图、权利要求书、摘要及其附图各一式两份。


  外观设计专利准备资料包括:外观专利请求书、图片或照片各一式两份,有要求保护色彩的需提交彩色及黑白图片或照片各一份。如需要对图片或照片做说明的,需提交外观设计简要说明一式两份。


  专利申请部门:在我国专利的唯一授权部门是国家知识产权局,当然知识产权局在各地设有代办处。


  申请专利的途径:


  1、直接到国家知识产权局直接申请或通过挂号邮寄文件申请方式申请专利。(专利申请文件有:请求书、说明书、说明书附图、摘要附图)


  2、委托专利代理人代办专利社情,采用这种方式,专利申请质量较高,可以避免因申请文件撰写质量问题而延误审查和授权。


  个人如何申请专利?总的来说就是先确认申请类型,准备申请资料、向专利审批机构递交申请、等待审批。当然申请专利需要缴纳申请费,也存在一定的申请风险,不是申请了就一定能够成功。


扫一扫加微信
关注麦肯锡
紧跟麦肯锡脚步
带您一同成长
地址:广东省东莞市南城街道鸿福路海德广场2栋1102A
电话:0086-769-22301889
粤ICP备16031927号-2
麦肯锡版权所有,违者必究!中高端企业知识产权和品牌服务定制服务机构